Another type of hexadecimal digit display is the Texas Instruments (TI) TIL311 shown in Fig.9-33, which uses a matrix-dot array of 20 LEDs.It inputs a 4-bit binary number and internally decodes the digit input to light the LEDs corresponding to the equivalent hexadecimal digit.

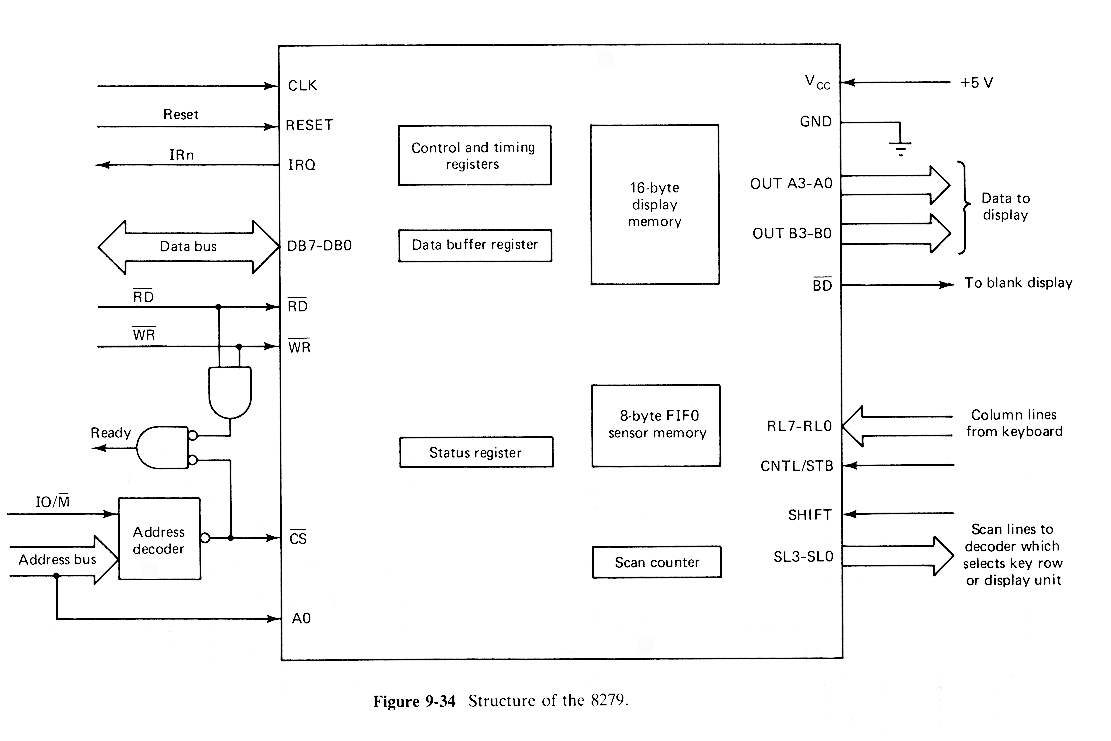
9-4-3 Keyboard/Display Controller

The Intel 8279 keyboard/display controller is an LSI device designed to release the processor fom performing the time-consuming scan and refresh operations.

PRETHODNA FOLIJA SADRZAJ SLEDECA FOLIJA