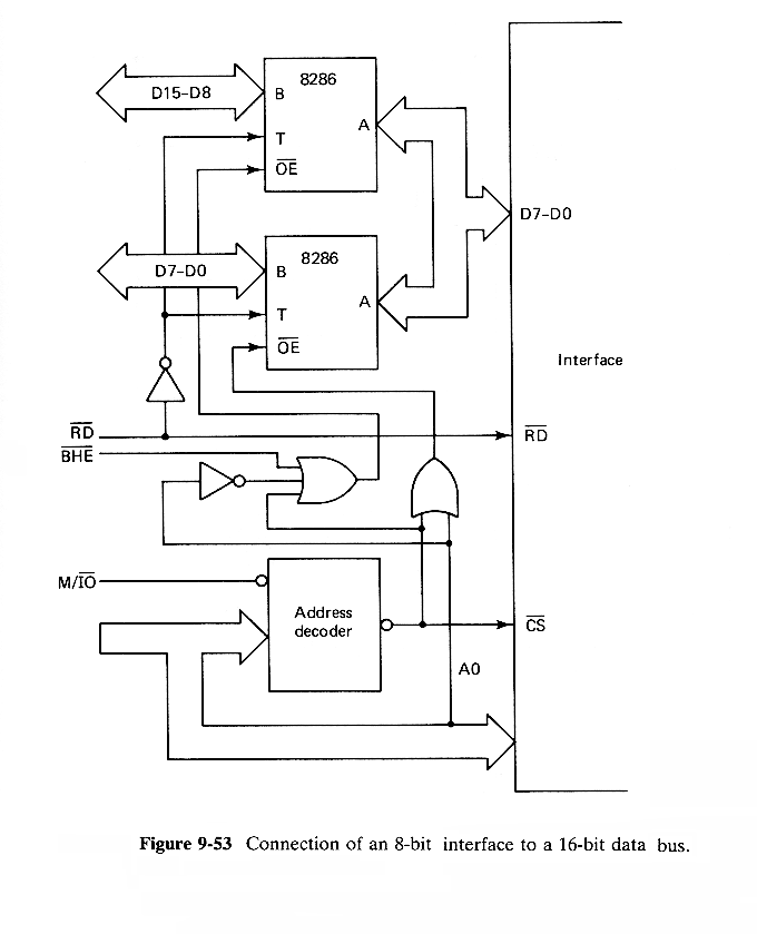
To use succesive address and both halves of a 16-bit data bus, the bus could be connected as shown in Fig.9-53.

                                       ___ 
To access a register the 8086 uses its BHE and A0 as follows:
                 ___
                 BHE    A0       Transfer

                  0      0      Not useful
                  0      1      Odd-addressed byte on upper half of bus
                  1      0      Even-addressed byte on lower half of bus   
                  1      1      Not possible
where 0 is low and 1 is high.By using these signals and two transceivers data can be transferred between the interface and the data bus lines D7-D0 when \BHE = 1 and A0 = 0, and the bus lines D15-D8 when \BHE = 0 and A0 = 1.The \RD signal is used to determine the direction of the data flow.The ready logic is not shown.

PRETHODNA FOLIJA SADRZAJ SLEDECA FOLIJA