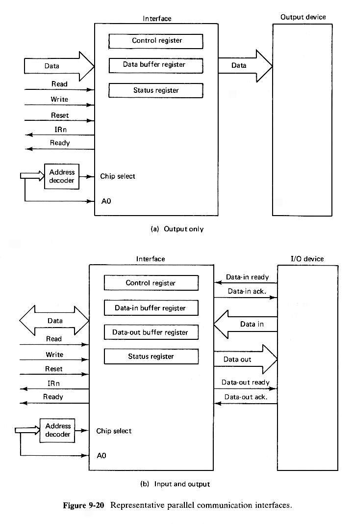
9-2 PARALLEL COMMUNICATION

PRETHODNA FOLIJA SADRZAJ SLEDECA FOLIJA