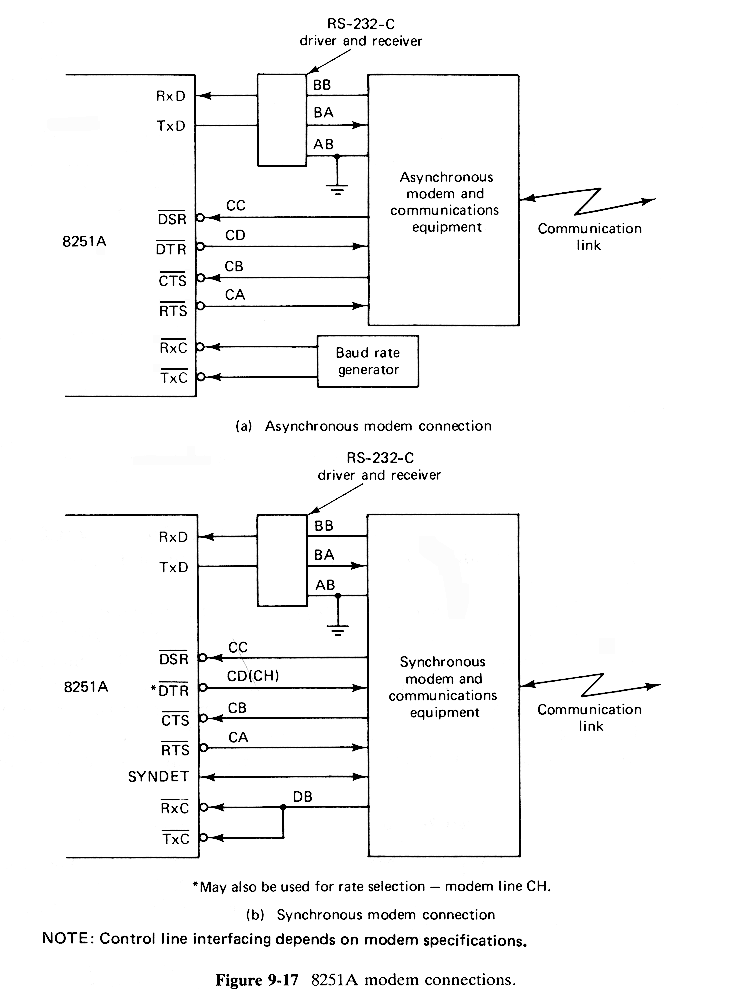
Typical connections to modems for asynchronous and synchronous transmissions are shown in Fig.9-17. With regard to the synchronous connections it is assumed that the timing is controlled by the modem and its related communications equipment.

A program sequence which initializes the mode register and gives a command to enable the transmitter and begin an asynchronous transmission of 7-bit characters followed by an even-parity bit and 2 stop bits is:

                      MOV   AL,11111010B
                      OUT   51H,AL
                      MOV   AL,00110011B
                      OUT   51H,AL 
This sequence assumes that the mode and control registers are at address 51H and the clock frequencies are to be 16 times the corrensponding baud rates. The sequence:
                      MOV   AL,00111000B
                      OUT   51H,AL 
                      MOV   AL,16H
                      OUT   51H,AL
                      OUT   51H,AL 
                      MOV   AL,10010100B
                      OUT   51H,AL 
would cause the same 8251A to be put in synchronous mode and to begin searching for two succesive ASCII sync characters.

PRETHODNA FOLIJA SADRZAJ SLEDECA FOLIJA